
Nike has begun filming a commercial which features the Deloreon driving around the parking lot located at Puente Hills Mall; the same exact location where scenes from Back to the Future were originally filmed.
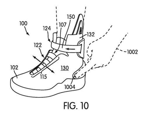
Back in August of 2010, Sneaker Files reported Nike had patented the Automatic Lacing System that was featured on the Nike Air Mag in BTTF2. At this point this is all speculation on a potential release but with information surfacing on potential commercial shoots and patented technology, it looks as if we may end up seeing the Nike Air Mag on stores shelves in the not so distant future.

Via DSNYC/Deftronic

*crosses fingers* i hope this shows up unlike lebron's 4th quarters. huzah!
you clearly don't know anything about basketball
lbj doesn't show up period
If these drop, imay be camping out, at an exclusive location, a week prior(Bum status), jus 2 get da kicks
10 bucks they release it in 2015
that lebron joke was funny lol
DELOREAN
Yea boiy Marty mcfly's